信息来源: 发布日期:2022-11-24 浏览量:4736
字号: 大 中 小
近日,蒙晟公司荣获“一种具有刮平结构的市政沥青面层裂缝防治用灌缝装置”新型专利,该专利获得了国家知识产权局颁发的《实用新型专利证书》。

当前市政道路建设,主要以沥青道路为主,在使用过程中会产生不同程度的裂缝问题,严重影响道路美观和使用寿命。常见的修复方式多以工人手持养护器械直接对裂缝进行灌缝修复,遇裂缝程度参差不齐,修补过程耗时费力,修复效果薄厚不一,无法最大程度恢复路面平整度。
蒙晟公司在总结以往道路修复施工理论和实践经验的基础上,潜心钻研、集思广益、大胆尝试,弘扬“工匠精神”,从实际出发,研发了“一种具有刮平结构的市政沥青面层裂缝防治用灌缝装置”。该装置采用双角型结构的出料箱,保证灌缝过程中裂缝面积全覆盖,出料箱内部采用具有伸缩功能的刮平板,在补平裂缝的同时,与原路面实现水平。该项实用新型专利所涉及的装置有效解决了传统人工沥青灌缝过程中因手工操作造成的灌缝剂与道路裂缝凹凸不平的现象,保证了灌缝施工后的道路整体平整度,且该装置便于操作使用,可有效降低材料消耗和人工成本,具有事半功倍的效果。

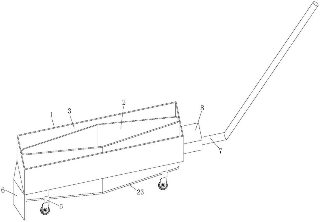
本实用新型结构示意图
其中:1、灌缝箱;2、出料箱;23、刮平板;3、加热槽;5、万向轮;6、清渣板;7、推杆;8、移动电源。
近年来,蒙晟公司深入贯彻落实内蒙古水投集团“十四五”发展规划总体思路,牢固树立新发展理念,坚持科技强企,坚持走“专精特新”发展道路。公司紧紧围绕市政道路建设和市政地下管网改造升级两大板块部署和推进科技创新工作,坚持对接技术前沿、市场需求,以科技创新引领全面创新。
今后,蒙晟公司将以党的二十大精神为指引,持续增强企业自主创新能力,在科技创新上开新局、建新功、谱新篇,以创新驱动发展,提升企业发展动能,为企业高质量发展增添动力。